Service Distribution Terminal
Intended use
- Services supply for clamping to a laboratory workstation
- The station is supplied through a service module which is fastened to the ceiling, such as suspended service boom, service column, service wing, service ceiling or a floor-mounted service spine.
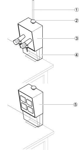
1 Connection to several service modules
2 Clamping system
3 Service distribution terminal with sanitary
installation
4 Plinth element
5 Service distribution terminal with 4 sockets for
singlephase AC
